搜索關鍵詞: 黄瓜视频官网、 91黄瓜视频APP下载係列、 波紋管係列、 空氣彈簧係列、
產品名稱:JS型組合式彈簧91黄瓜视频APP下载
產品型號:JS係列
所屬類別:彈簧減振器
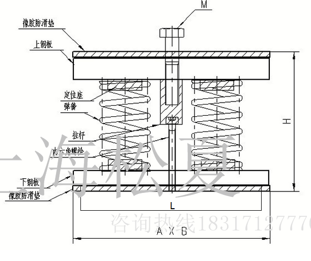
黄瓜视频下载污JS型組合式彈簧91黄瓜视频APP下载產品簡介: JS型組合式彈簧減振器是采用多重組合彈簧為主體,上下配置鋼板及防滑橡膠墊組成。 該產品充分利用綜合鋼彈簧的低頻和橡膠減振的阻尼特性,可消除高頻傳遞,達到明顯的減震降噪效果,又能解決機械設備重心不均的減震難點。 本產品為敞開式結構,安裝時可直接放在設備下,調節好重心,然後通過固定孔連接上下端麵,也可直接的安置在減振基座分支承結構之間。適用於壓縮機組,冷水機組,空調機組等機械設備的減振。
-2為2組彈簧組合 -4為4組彈簧組合 -6為6組彈簧組合
消防泵浦、排送風機
發電機、空氣壓縮機
| 型號 | 荷載(kg) | 豎向剛度 | 外形尺寸(mm) | |||||
| 預壓P1 | 額定P2 | 最大P3 | kg/mm | H | A | B | M | |
| JS-2-20 | 16 | 20 | 24 | 0.8 | 75 | 100 | 40 | 10 |
| JS-2-30 | 24 | 30 | 36 | 1.2 | 75 | 100 | 40 | 10 |
| JS-2-50 | 40 | 50 | 60 | 2 | 95 | 120 | 50 | 12 |
| JS-2-60 | 48 | 60 | 72 | 2.4 | 95 | 120 | 50 | 12 |
| JS-2-80 | 64 | 80 | 96 | 3.2 | 95 | 120 | 50 | 12 |
| JS-2-100 | 80 | 100 | 120 | 4 | 95 | 120 | 50 | 12 |
| JS-2-120 | 96 | 120 | 144 | 4.8 | 110 | 150 | 60 | 12 |
| JS-2-160 | 128 | 160 | 192 | 6.4 | 110 | 150 | 60 | 12 |
| JS-2-200 | 160 | 200 | 240 | 8 | 110 | 150 | 60 | 12 |
| JS-2-300 | 240 | 300 | 360 | 12 | 110 | 150 | 60 | 12 |
| JS-2-400 | 320 | 400 | 480 | 16 | 110 | 150 | 60 | 12 |
| JS-2-500 | 400 | 500 | 600 | 20 | 110 | 150 | 60 | 12 |
| JS-2-600 | 480 | 600 | 720 | 24 | 145 | 190 | 80 | 16 |
| JS-2-800 | 640 | 800 | 960 | 32 | 145 | 190 | 80 | 16 |
| JS-2-1000 | 800 | 1000 | 1200 | 40 | 145 | 190 | 80 | 16 |
| JS-2-1200 | 960 | 1200 | 1440 | 48 | 145 | 190 | 80 | 16 |
| JS-2-1400 | 1120 | 1400 | 1680 | 56 | 145 | 190 | 80 | 16 |
| JS-2-1600 | 1280 | 1600 | 1920 | 64 | 145 | 190 | 80 | 16 |
| JS-2-1800 | 1440 | 1800 | 2160 | 72 | 145 | 190 | 80 | 16 |
| JS-2-2000 | 1600 | 2000 | 2400 | 80 | 145 | 190 | 80 | 16 |
| JS-2-2400 | 1920 | 2400 | 2880 | 96 | 145 | 190 | 80 | 16 |
| 型號 | 荷載(kg) | 豎向剛度kg/mm | 外形尺寸(mm) | |||||
| 預壓P1 | 額定P2 | 最大P3 | H | A X B | L1 | M | ||
| JS-4-240 | 192 | 240 | 288 | 9.6 | 110 | 140X140 | 110 | 12 |
| JS-4-320 | 256 | 320 | 384 | 12.8 | 110 | 140X140 | 110 | 12 |
| JS-4-400 | 320 | 400 | 480 | 16 | 110 | 140X140 | 110 | 12 |
| JS-4-600 | 480 | 600 | 720 | 24 | 110 | 140X140 | 110 | 12 |
| JS-4-800 | 640 | 800 | 960 | 32 | 110 | 140X140 | 110 | 12 |
| JS-4-1000 | 800 | 1000 | 1200 | 40 | 110 | 140X140 | 110 | 12 |
| JS-4-1200 | 960 | 1200 | 1440 | 48 | 145 | 170X170 | 140 | 16 |
| JS-4-1600 | 1280 | 1600 | 1920 | 64 | 145 | 170X170 | 140 | 16 |
| JS-4-2000 | 1600 | 2000 | 2400 | 80 | 145 | 170X170 | 140 | 16 |
| JS-4-2400 | 1920 | 2400 | 2800 | 96 | 145 | 170X170 | 140 | 16 |
| JS-4-2800 | 2240 | 2800 | 3600 | 112 | 145 | 170X170 | 140 | 16 |
| JS-4-3200 | 2560 | 3200 | 3840 | 128 | 145 | 170X170 | 140 | 18 |
| JS-4-4000 | 3200 | 4000 | 4800 | 160 | 145 | 170X170 | 140 | 18 |
| JS-4-4800 | 3840 | 4800 | 5760 | 192 | 145 | 170X170 | 140 | 18 |
| JS-6-360 | 288 | 360 | 432 | 14.4 | 110 | 210X140 | 180 | 12*2 |
| JS-6-480 | 384 | 480 | 576 | 19.2 | 110 | 210X140 | 180 | 12*2 |
| JS-6-600 | 480 | 600 | 720 | 24 | 110 | 210X140 | 180 | 12*2 |
| JS-6-900 | 720 | 900 | 1080 | 36 | 110 | 210X140 | 180 | 12*2 |
| JS-6-1200 | 960 | 1200 | 1440 | 48 | 110 | 210X140 | 180 | 12*2 |
| JS-6-1500 | 1200 | 1500 | 1800 | 60 | 110 | 210X140 | 180 | 12*2 |
| JS-6-1800 | 1440 | 1800 | 2160 | 72 | 145 | 255X170 | 225 | 16*2 |
| JS-6-2400 | 1920 | 2400 | 2880 | 96 | 145 | 255X170 | 225 | 16*2 |
| JS-6-3000 | 2400 | 3000 | 3600 | 120 | 145 | 255X170 | 225 | 16*2 |
| JS-6-3600 | 2880 | 3600 | 4320 | 144 | 145 | 255X170 | 225 | 16*2 |
| JS-6-4200 | 3360 | 4200 | 5040 | 168 | 145 | 255X170 | 225 | 16*2 |
| JS-6-4800 | 3840 | 4800 | 5760 | 192 | 145 | 255X170 | 225 | 16*2 |
| JS-6-6000 | 4800 | 6000 | 7200 | 240 | 145 | 255X170 | 225 | 16*2 |
| JS-6-7200 | 5760 | 7200 | 8640 | 288 | 145 | 255X170 | 225 | 16*2 |
| JS-9-2700 | 2160 | 2700 | 3240 | 108 | 145 | 255X255 | 225 | 20 |
| JS-9-3600 | 2880 | 3600 | 4320 | 144 | 145 | 255X255 | 225 | 20 |
| JS-9-4500 | 3600 | 4500 | 5400 | 180 | 145 | 255X255 | 225 | 20 |
| JS-9-5400 | 4320 | 5400 | 6480 | 216 | 145 | 255X255 | 225 | 20 |
| JS-9-6300 | 5040 | 6300 | 7560 | 252 | 145 | 255X255 | 225 | 20 |
| JS-9-7200 | 5760 | 7200 | 8640 | 288 | 145 | 255X255 | 225 | 20 |
| JS-9-9000 | 7200 | 9000 | 10800 | 360 | 145 | 255X255 | 225 | 20 |
| JS-9-10800 | 8640 | 10800 | 12960 | 432 | 145 | 255X255 | 225 | 20 |